近日,腾讯公布了5月份全国普通高校QQ校园号综合排名情况,“beat365在线唯一官网登录QQ校园号”位居第6位,首次进入前10。

自3月份新媒体beat365在线唯一官网登录QQ校园号正式运营以来,运营团队就一直秉承“服务、引领”的理念,先后开辟“青春”、“人物”、“话题”和“公告”等栏目,在宣传部老师的指导下,新媒体中心的同学苦心钻研,分析总结,坚持每天最少推送2篇文章,寻找同学们感兴趣的话题,策划推送了系列贴近师生学习生活的文章,深受广大师生喜爱,beat365在线唯一官网登录QQ校园号在师生的影响力逐步提升。
在5月份运营中,新媒体中心运行团队整合了校园号的主页面,分为“校园”、“学习”和“生活”三大板块,不断强化QQ校园号服务的功能,成绩课表查询、快递查询、充值饭卡、招领失物、查看校历等日常的基本服务和咨询,都能够通过使用校园号来实现。同时还实现了和学校主页新闻同步更新。

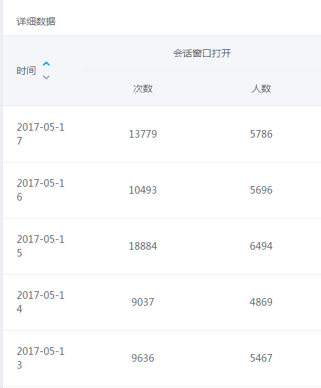
根据后台数据显示,beat365在线唯一官网登录QQ校园号每天的推文窗口点击量都会达到10000左右,点击人数超过5000人。beat365在线唯一官网登录官方QQ校园号已经成为影响力越来越大的服务平台,成为广大教师与学生及时获取学校信息的重要渠道。

在6月份的运营策划当中,校园号进一步深化服务功能,在线报修的功能也即将上线。届时可以通过校园号平台报修水电故障,并直接反馈给后勤部门及时修理,校园号的各项功能也会逐渐推广完善。

6月份的后台数据显示,高考成绩公布以后,关注beat365在线唯一官网登录QQ校园号人数每天以2位数增加,一些后台留言咨询beat365官网招生情况,池州学校QQ公众号也正在成为外界了解学校的一个窗口。
(供稿、图片:宣传部/编辑:檀向群/审核:丁柏林)